elecena.pl

500MHz to 3GHz automotive delta-sigma low power dual PLL

Texas Instruments

500MHz to 3GHz automotive delta-sigma low power dual PLL RSS Sample
  • Darmowa próbka
MPN:
LMX2485Q-Q1
Producent:
TEXAS INSTRUMENTS
Dodany do bazy:
Ostatnio widziany:

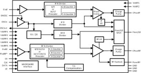
The LMX2485Q-Q1 is a low power, high performance delta-sigma fractional-N PLL with an auxiliary integer-N PLL. The device is fabricated using TI’s advanced process.

With delta-sigma architecture, fractional spurs at lower offset frequencies are pushed to higher frequencies outside the loop bandwidth. The ability to push close in spur and phase noise energy to higher frequencies is a direct function of the modulator order. Unlike analog compensation, the digital feedback technique used in the LMX2485Q-Q1 is highly resistant to changes in temperature and variations in wafer processing. The LMX2485Q-Q1 delta-sigma modulator is programmable up to fourth order, which allows the designer to select the optimum modulator order to fit the phase noise, spur, and lock time requirements of the system.

Serial data for programming the LMX2485Q-Q1 is transferred through a three-line, high-speed (20-MHz) MICROWIRE interface. The LMX2485Q-Q1 offers fine frequency resolution, low spurs, fast programming speed, and a single word write to change the frequency. This makes it ideal for direct digital modulation applications, where the N-counter is directly modulated with information. The LMX2485Q-Q1 is available in a 24-lead 4.0 × 4.0 × 0.8 mm WQFN package.

Elecena nie prowadzi sprzedaży elementów elektronicznych, ani w niej nie pośredniczy.

Produkt pochodzi z oferty sklepu