elecena.pl

Dual-Channel WLED Driver for Smart Phones

Texas Instruments

Dual-Channel WLED Driver for Smart Phones RSS Sample
  • Darmowa próbka
MPN:
TPS61162
Producent:
TEXAS INSTRUMENTS
Dodany do bazy:
Ostatnio widziany:

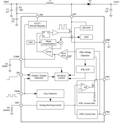
The TPS61162D is a dual-channel WLED driver which provides highly integrated solutions for single-cell Li-ion-battery-powered smart-phone backlighting. The device has a built-in high efficiency boost regulator with integrated 1.5-A/40-V power MOSFET and can support as low as 2.7-V input voltage. With two high current-matching capability current sink regulators, the device can drive up to 7s2p WLED diodes. The boost output can automatically adjust to the WLED forward voltage, allowing very low voltage headroom control, thus improving LED strings efficiency effectively.

The TPS61162D supports both the PWM dimming interface and one-wire digital EasyScale dimming interface and can realize 9-bit brightness code programming.

The TPS61162D integrates built-in soft start, overvoltage, and overcurrent protection, as well as thermal shutdown protections.

For all available packages, see the orderable addendum at the end of the data sheet.

Elecena nie prowadzi sprzedaży elementów elektronicznych, ani w niej nie pośredniczy.

Produkt pochodzi z oferty sklepu