elecena.pl

Automotive 3V to 17V, 1A Buck Converter in 3x3 QFN package

Texas Instruments

Automotive 3V to 17V, 1A Buck Converter in 3x3 QFN package RSS Sample
  • Darmowa próbka
MPN:
TPS62152-Q1
Producent:
TEXAS INSTRUMENTS
Dodany do bazy:
Ostatnio widziany:

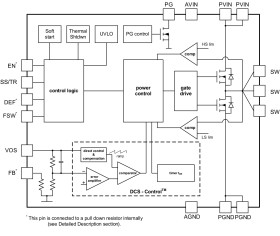
The TPS62152-Q1 device is an easy-to-use synchronous step-down dc-dc converter optimized for applications with high power density and features a fixed 3.3-V output with a current capability of up to 1 A. A high switching frequency of 2.5 MHz (typical) allows the use of small inductors and provides fast transient response as well as high output-voltage accuracy by use of the DCS-Control topology.

With a wide operating input voltage range of 4 V to 17 V, the device is ideally suited for systems powered from either a Li-Ion or other batteries as well as from 12-V intermediate power rails.

The soft-start pin controls the output voltage start-up ramp, which allows operation either as a standalone power supply or in tracking configurations. Power sequencing is also possible by configuring the enable and open-drain power-good pins.

In power-save mode, the device draws quiescent current of about 17 μA from VIN. Power-save mode, entered automatically and seamlessly if the load is small, maintains high efficiency over the entire load range. Entering shutdown mode turns the device off, and shutdown current consumption is less than 2 μA.

The device package is a 16-pin VQFN measuring 3-mm × 3-mm (RGT) and has an exposed thermal pad for better thermal performance.

For all available packages, see the orderable addendum at the end of the datasheet.

Elecena nie prowadzi sprzedaży elementów elektronicznych, ani w niej nie pośredniczy.

Produkt pochodzi z oferty sklepu