elecena.pl

11.3-Gbps limiting amplifier

Texas Instruments

11.3-Gbps limiting amplifier RSS Sample
  • Darmowa próbka
MPN:
ONET1151P
Producent:
TEXAS INSTRUMENTS
Dodany do bazy:
Ostatnio widziany:

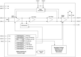
The ONET1151P is a high-speed, 3.3-V limiting amplifier for multiple fiber optic and copper cable applications with data rates up to 11.3 Gbps.

The device provides a two-wire serial interface which allows digital control of the output amplitude, output pre-emphasis, input threshold voltage (slice level) and the loss of signal assert level.

The ONET1151P provides a gain of about 33dB which ensures a fully differential output swing for input signals as low as 20 mVp-p. The output amplitude can be adjusted between 350 mVp-p and 850 mVp-p. To compensate for frequency dependent loss of microstrips or striplines connected to the output of the device, programmable de-emphasis is included in the output stage. A settable loss of signal (LOS) detection with programmable output masking time and output disable are also provided.

The part, available in RoHS compliant small footprint 3 mm × 3 mm 16-pin QFN package, typically dissipates 132 mW with 550 mVp-p output and is characterized for operation from −40°C to 100°C.

Elecena nie prowadzi sprzedaży elementów elektronicznych, ani w niej nie pośredniczy.

Produkt pochodzi z oferty sklepu