USB charger over voltage Surge and ESD protection
Texas Instruments
RSS
Sample
- Darmowa próbka
- MPN:
- TPD1S514
- Producent:
- TEXAS INSTRUMENTS
- Dodany do bazy:
- Ostatnio widziany:
Sugerowane produkty dla tpd1s514
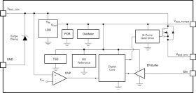
The TPD1S514 Family consists of single-chip protection solutions for 5-V, 9-V or 12-V USB VBUS lines, or other power buses. The bidirectional nFET switch ensures safe current flow in both charging and host mode while protecting the internal system circuits from any over voltage condition at the VBUSCON pin. On the VBUSCON pin, this device can handle over voltage protection up to 30-V DC. After the EN pin toggles low, any device in the TPD1S514 Family waits 20 ms before turning ON the nFET through a soft start delay.
Typical application interfaces for the TPD1S514 Family are VBUS lines in USB connectors typically found in cell phones, tablets, eBooks, and portable media players. The TPD1S514 Family can also be applied to any system using an interface for a 5-V, 9-V, or 12-V power rail.
Elecena nie prowadzi sprzedaży elementów elektronicznych, ani w niej nie pośredniczy.
Produkt pochodzi z oferty sklepu Texas Instruments