elecena.pl

4 x 12-Bit and 4 × 16-Bit Octal D/A Converter with On-Chip Reference in 14-Lead TSSOP

Analog Devices

4 x 12-Bit and 4 × 16-Bit Octal D/A Converter with On-Chip Reference in 14-Lead TSSOP RSS Sample
  • Darmowa próbka
MPN:
AD5678
Producent:
ANALOG DEVICES
Dodany do bazy:
Ostatnio widziany:
Zmiana ceny:
-100% (20.01.2025)
Poprzednia cena:
12.11

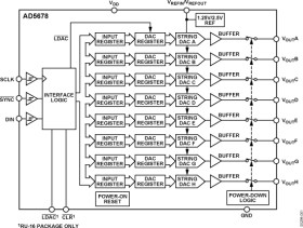
The AD5678 is a low power, octal, buffered voltage-output DAC with four 12-bit DACs and four 16-bit DACs in a single package. All devices operate from a single 2.7 V to 5.5 V supply and are guaranteed monotonic by design.

The AD5678 has an on-chip reference with an internal gain of 2. The AD5678-1 has a 1.25 V 5 ppm/°C reference, giving a full-scale output of 2.5 V; the AD5678-2 has a 2.5 V 5 ppm/°C reference, giving a full-scale output of 5 V. The on-board reference is off at power-up, allowing the use of an external reference. The internal reference is enabled via a software write.

The part incorporates a power-on reset circuit that ensures that the DAC output powers up to 0 V and remains powered up at this level until a valid write takes place. The part contains a power-down feature that reduces the current consumption of the device to 400 nA at 5 V and provides software-selectable output loads while in power-down mode for any or all DAC channels.

The outputs of all DACs can be updated simultaneously using the LDAC function, with the added functionality of user-selectable DAC channels to simultaneously update. There is also an asynchronous CLR that clears all DACs to a software-selectable code—0 V, midscale, or full scale.

The AD5678 utilizes a versatile 3-wire serial interface that operates at clock rates of up to 50 MHz and is compatible with standard SPI®, QSPI™, MICROWIRE™, and DSP interface standards. The on-chip precision output amplifier enables rail-to-rail output swing.

PRODUCT HIGHLIGHTS

* Octal DAC (four 12-bit DACs and four 16-bit DACs).

* On-chip 1.25 V/2.5 V, 5 ppm/°C reference.

* Available in 14-lead/16-lead TSSOP.

* Power-on reset to 0 V.

* Power-down capability. When powered down, the DAC typically consumes 200 nA at 3 V and 400 nA at 5 V

APPLICATIONS

* Process control

* Data acquisition systems

* Portable battery-powered instruments

* Digital gain and offset adjustment

* Programmable voltage current sources

* Programmable attenuators

* Low power octal DAC with

Four 16-bit DACs

Four 12-bit DACs

* 14-lead/16-lead TSSOP

* On-chip 1.25 V/2.5 V, 5 ppm/°C reference

* Power down to 400 nA @ 5 V, 200 nA @ 3 V

* 2.7 V to 5.5 V power supply

Elecena nie prowadzi sprzedaży elementów elektronicznych, ani w niej nie pośredniczy.

Produkt pochodzi z oferty sklepu