elecena.pl

8 134.47 PLN 210.70 PLN
  1. Sample
    Do sklepu »

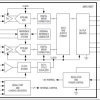
    Dual-Channel, 8-Bit, 65Msps ADC

    ... MAX19515, MAX19516, and MAX19517 data sheets for ...
    • Darmowa próbka
    Sklep:
    Analog Devices
    Producent:
    ANALOG DEVICES
    MPN:
    MAX19505
    Dodany:
  2. Dual-Channel, 8-Bit, 100Msps ADC Sample
    Do sklepu »

    Dual-Channel, 8-Bit, 100Msps ADC

    ... MAX19515, MAX19516, and MAX19517 data sheets for ...
    • Darmowa próbka
    Sklep:
    Analog Devices
    Producent:
    ANALOG DEVICES
    MPN:
    MAX19506
    Dodany:
  3. Sample
    Do sklepu »

    Dual-Channel, 8-Bit, 130Msps ADC

    ... MAX19515, MAX19516, and MAX19517 data sheets for ...
    • Darmowa próbka
    Sklep:
    Analog Devices
    Producent:
    ANALOG DEVICES
    MPN:
    MAX19507
    Dodany:
  4. Dual-Channel, 10-Bit, 130Msps ADC Sample
    Do sklepu »

    Dual-Channel, 10-Bit, 130Msps ADC

    ... and fCLK = 130MHz. The MAX19517 operates from a 1 ...
    • Darmowa próbka
    Sklep:
    Analog Devices
    Producent:
    ANALOG DEVICES
    MPN:
    MAX19517
    Dodany:
    Zmiana ceny:
    -100%
  5. Sample
    Do sklepu »

    Dual-Channel, 10-Bit, 65Msps ADC

    ... to the MAX19516 and MAX19517 data sheets for pin ...
    • Darmowa próbka
    Sklep:
    Analog Devices
    Producent:
    ANALOG DEVICES
    MPN:
    MAX19515
    Dodany:
    Zmiana ceny:
    -100%
  6. Sample
    Do sklepu »

    Dual-Channel, 10-Bit, 100Msps ADC

    ... to the MAX19515 and MAX19517 data sheets for pin ...
    • Darmowa próbka
    Sklep:
    Analog Devices
    Producent:
    ANALOG DEVICES
    MPN:
    MAX19516
    Dodany:
    Zmiana ceny:
    -100%
  7. Ceny od 100 zł
  8. MAX19517ETM+ Analog to Digital Converter (ADC) - Maxim 134.47
    Do sklepu »

    MAX19517ETM+ Analog to Digital Converter (ADC) - Maxim

    MAX19517ETM+ Analog to Digital Converter (ADC) ...
    • Sklep zagraniczny (26.00 GBP)
    Sklep:
    Silicon Ark
    Producent:
    MAXIM
    MPN:
    MAX19517ETM+
    Dodany:
  9. 210.70
    Do sklepu »

    MAX19517ETM

    UKŁAD SCALONY ADC 10BIT 100MSPS DUAL 48TQFN
    Sklep:
    Elektronik-Service
    Producent:
    MAXIM INTEGRATED PRODUCTS INC.
    MPN:
    IMP-162184
    Obudowa:
    TQFN48
    Dodany: