elecena.pl

744 0.68 PLN 8121.54 PLN
  1. Quad 4.25-Gbps CML transceiver with transmit de-emphasis & receive equalization Sample
    Do sklepu »

    Quad 4.25-Gbps CML transceiver with transmit de-emphasis & receive equalization

    The DS42BR400 is a quad 250 Mbps – 4.25 Gbps CML ...
    • Darmowa próbka
    Sklep:
    Texas Instruments
    Producent:
    TEXAS INSTRUMENTS
    MPN:
    DS42BR400
    Dodany:
  2. Fractional-N/Integer-N PLL Synthesizer Sample
    Do sklepu »

    Fractional-N/Integer-N PLL Synthesizer

    The ADF4150 allows implementation of fractional-N ...
    • Darmowa próbka
    Sklep:
    Analog Devices
    Producent:
    ANALOG DEVICES
    MPN:
    ADF4150
    Dodany:
    Zmiana ceny:
    -100%
  3. High Voltage, Fractional-N / Integer-N PLL Synthesizer Sample
    Do sklepu »

    High Voltage, Fractional-N / Integer-N PLL Synthesizer

    The ADF4150HV is a 3.0 GHz, fractional-N or ...
    • Darmowa próbka
    Sklep:
    Analog Devices
    Producent:
    ANALOG DEVICES
    MPN:
    ADF4150HV
    Dodany:
    Zmiana ceny:
    -100%
  4. Sample
    Do sklepu »

    AR1100BRD

    The mTouch AR1100BRD Resistive Touch Screen ...
    • Zgodny z RoHS
    • Darmowa próbka
    Sklep:
    Microchip
    Producent:
    MICROCHIP
    MPN:
    AR1100BRD
    Dodany:
  5. Fractional-N/Integer-N PLL Synthesizer Sample
    Do sklepu »

    Fractional-N/Integer-N PLL Synthesizer

    The ADF4151 allows implementation of fractional-N ...
    • Darmowa próbka
    Sklep:
    Analog Devices
    Producent:
    ANALOG DEVICES
    MPN:
    ADF4151
    Dodany:
    Zmiana ceny:
    -100%
  6. Wideband Synthesizer with Integrated VCO Sample
    Do sklepu »

    Wideband Synthesizer with Integrated VCO

    The ADF4351 allows implementation of fractional-N ...
    • Darmowa próbka
    Sklep:
    Analog Devices
    Producent:
    ANALOG DEVICES
    MPN:
    ADF4351
    Dodany:
    Zmiana ceny:
    -100%
  7. Low Voltage, Precision Comparator with Push-Pull Output Sample
    Do sklepu »

    Low Voltage, Precision Comparator with Push-Pull Output

    The LMV76x devices are precision comparators ...
    • Darmowa próbka
    Sklep:
    Texas Instruments
    Producent:
    TEXAS INSTRUMENTS
    MPN:
    LMV762Q-Q1
    Dodany:
  8. 20-W mono, 8- to 18-V supply, analog input Class-D audio amplifier Sample
    Do sklepu »

    20-W mono, 8- to 18-V supply, analog input Class-D audio amplifier

    The TPA3001D1 (sometimes referred to as TPA3001 ...
    • Darmowa próbka
    Sklep:
    Texas Instruments
    Producent:
    TEXAS INSTRUMENTS
    MPN:
    TPA3001D1
    Dodany:
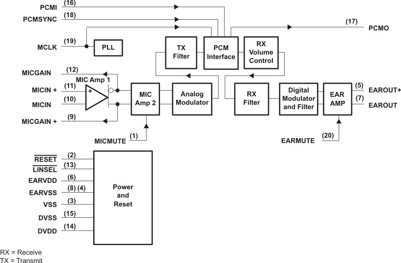
  9. Programmable PCM Codec With Microphone Amps & Speaker Driver Sample
    Do sklepu »

    Programmable PCM Codec With Microphone Amps & Speaker Driver

    The PCM codec is designed to perform transmit ...
    • Darmowa próbka
    Sklep:
    Texas Instruments
    Producent:
    TEXAS INSTRUMENTS
    MPN:
    TLV320AIC1103
    Dodany:
  10. PCM Codec With Microphone Amps & Speaker Driver Sample
    Do sklepu »

    PCM Codec With Microphone Amps & Speaker Driver

    The TLV320AIC1106 PCM codec is designed to perform ...
    • Darmowa próbka
    Sklep:
    Texas Instruments
    Producent:
    TEXAS INSTRUMENTS
    MPN:
    TLV320AIC1106
    Dodany:
  11. Automotive Voice-Band Audio Processor (VBAP) Sample
    Do sklepu »

    Automotive Voice-Band Audio Processor (VBAP)

    The voice-band audio processor (VBAP) is ...
    • Darmowa próbka
    Sklep:
    Texas Instruments
    Producent:
    TEXAS INSTRUMENTS
    MPN:
    TWL1103T-Q1
    Dodany:
  12. 1:1 ultra-low jitter crystal-in clock generator Sample
    Do sklepu »

    1:1 ultra-low jitter crystal-in clock generator

    The CDCM61001 is a highly versatile, low-jitter ...
    • Darmowa próbka
    Sklep:
    Texas Instruments
    Producent:
    TEXAS INSTRUMENTS
    MPN:
    CDCM61001
    Dodany:
  13. 1:2 ultra-low jitter crystal-in clock generator Sample
    Do sklepu »

    1:2 ultra-low jitter crystal-in clock generator

    The CDCM61002 is a highly versatile, low-jitter ...
    • Darmowa próbka
    Sklep:
    Texas Instruments
    Producent:
    TEXAS INSTRUMENTS
    MPN:
    CDCM61002
    Dodany:
  14. 1:4 ultra-low jitter crystal-in clock generator Sample
    Do sklepu »

    1:4 ultra-low jitter crystal-in clock generator

    The CDCM61004 is a highly versatile, low-jitter ...
    • Darmowa próbka
    Sklep:
    Texas Instruments
    Producent:
    TEXAS INSTRUMENTS
    MPN:
    CDCM61004
    Dodany:
  15. Ultra-low power, 2:8 fan-out buffer with universal inputs and outputs Sample
    Do sklepu »

    Ultra-low power, 2:8 fan-out buffer with universal inputs and outputs

    The CDCUN1208LP is a 2:8 fan-out buffer featuring ...
    • Darmowa próbka
    Sklep:
    Texas Instruments
    Producent:
    TEXAS INSTRUMENTS
    MPN:
    CDCUN1208LP
    Dodany: