elecena.pl

750 0.00 PLN 0.00 PLN
  1. Digital CCIR-601 to PAL/NTSC Video Encoder with 3x9-Bit DACs and Macrovision Sample
    Do sklepu »

    Digital CCIR-601 to PAL/NTSC Video Encoder with 3x9-Bit DACs and Macrovision

    ... 9-bit look-up table produces a superior subcarrier ...
    • Darmowa próbka
    Sklep:
    Analog Devices
    Producent:
    ANALOG DEVICES
    MPN:
    ADV7178
    Dodany:
  2. Low Voltage Supervisory Circuits with Watchdog and Manual Reset in 5-Lead SOT-23 Sample
    Do sklepu »

    Low Voltage Supervisory Circuits with Watchdog and Manual Reset in 5-Lead SOT-23

    ... , as shown in Table 1 in the datasheet ...
    • Darmowa próbka
    Sklep:
    Analog Devices
    Producent:
    ANALOG DEVICES
    MPN:
    ADM6825
    Dodany:
  3. High Temperature (up to 210°C), High Voltage, Latch-Up Proof, 8-Channel Multiplexer Sample
    Do sklepu »

    High Temperature (up to 210°C), High Voltage, Latch-Up Proof, 8-Channel Multiplexer

    ... . For a complete selection table of available high ...
    • Darmowa próbka
    Sklep:
    Analog Devices
    Producent:
    ANALOG DEVICES
    MPN:
    ADG5298
    Dodany:
    Zmiana ceny:
    -100%
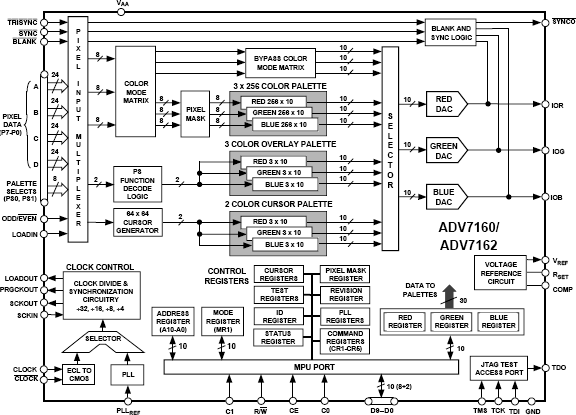
  4. 96-Bit, 220 MHz True-Color Video RAM-DAC in 160-pin PQUAD Sample
    Do sklepu »

    96-Bit, 220 MHz True-Color Video RAM-DAC in 160-pin PQUAD

    ... with the color look-up table and triple 10-bit DAC ...
    • Darmowa próbka
    Sklep:
    Analog Devices
    Producent:
    ANALOG DEVICES
    MPN:
    ADV7160
    Dodany:
  5. Sample
    Do sklepu »

    CMOS 80MHz Monolithic 256 x 24 Color Palette RAM-DACs

    ... has a 256x24 color lookup table with triple 8-bit ...
    • Darmowa próbka
    Sklep:
    Analog Devices
    Producent:
    ANALOG DEVICES
    MPN:
    ADV478
    Dodany:
  6. Sample
    Do sklepu »

    RAM-DAC on a single monolithic chip. It is specifically designed for high resolution color graphics systems. The

    ... , 256 from the lookup table and three from the ...
    • Darmowa próbka
    Sklep:
    Analog Devices
    Producent:
    ANALOG DEVICES
    MPN:
    ADV453
    Dodany:
  7. Sample
    Do sklepu »

    30 W, Filterless, Class-D, Output Sensing Audio Amplifier

    ... , (should now match the table)and it has an ...
    • Darmowa próbka
    Sklep:
    Analog Devices
    Producent:
    ANALOG DEVICES
    MPN:
    SSM3525
    Dodany:
  8. 400MHz SHARC+ DSP with 640KB L1, 256KB Shared L2 SRAM, 120-lead LQFP_EP Sample
    Do sklepu »

    400MHz SHARC+ DSP with 640KB L1, 256KB Shared L2 SRAM, 120-lead LQFP_EP

    ... peripherals and memory (see Table 1 in the data ...
    • Darmowa próbka
    Sklep:
    Analog Devices
    Producent:
    ANALOG DEVICES
    MPN:
    ADSP-21562
    Dodany:
    Zmiana ceny:
    -100%
  9. 104 MSPS, Four-Channel Digital Transmit Signal Processor (TSP) Sample
    Do sklepu »

    104 MSPS, Four-Channel Digital Transmit Signal Processor (TSP)

    ... Programmable QPSK Look-Up Table * All-Pass Phase ...
    • Darmowa próbka
    Sklep:
    Analog Devices
    Producent:
    ANALOG DEVICES
    MPN:
    AD6623
    Dodany:
  10. Up to 1GHz SHARC+ DSP with 640KB L1, 1024KB Shared L2 SRAM, 120-lead LQFP_EP Sample
    Do sklepu »

    Up to 1GHz SHARC+ DSP with 640KB L1, 1024KB Shared L2 SRAM, 120-lead LQFP_EP

    ... peripherals and memory (see Table 1 in the data ...
    • Darmowa próbka
    Sklep:
    Analog Devices
    Producent:
    ANALOG DEVICES
    MPN:
    ADSP-21565
    Dodany:
    Zmiana ceny:
    -100%
  11. Multi-format Video Encoder Six 12-Bit Noise Shaped Video® DACs Sample
    Do sklepu »

    Multi-format Video Encoder Six 12-Bit Noise Shaped Video® DACs

    ... consumption to a minimum. Table 1 lists the video ...
    • Darmowa próbka
    Sklep:
    Analog Devices
    Producent:
    ANALOG DEVICES
    MPN:
    ADV7340
    Dodany:
  12. Digital Video Encoder with Macrovision with Anticopy Circuitry Sample
    Do sklepu »

    Digital Video Encoder with Macrovision with Anticopy Circuitry

    ... -bit look-up table produces a superior subcarrier ...
    • Darmowa próbka
    Sklep:
    Analog Devices
    Producent:
    ANALOG DEVICES
    MPN:
    ADV7175A
    Dodany:
  13. Quad-Channel Isolators with Integrated DC-to-DC Converter (4:0 directionality) Sample
    Do sklepu »

    Quad-Channel Isolators with Integrated DC-to-DC Converter (4:0 directionality)

    ... current levels are listed in Table 1 in the data ...
    • Darmowa próbka
    Sklep:
    Analog Devices
    Producent:
    ANALOG DEVICES
    MPN:
    ADuM6420A
    Dodany:
    Zmiana ceny:
    -100%
  14. Quad-Channel Isolators with Integrated DC-to-DC Converter (2:2 directionality) Sample
    Do sklepu »

    Quad-Channel Isolators with Integrated DC-to-DC Converter (2:2 directionality)

    ... current levels are listed in Table 1 in the data ...
    • Darmowa próbka
    Sklep:
    Analog Devices
    Producent:
    ANALOG DEVICES
    MPN:
    ADuM6422A
    Dodany:
    Zmiana ceny:
    -100%
  15. Quad-Channel Isolators with Integrated DC-to-DC Converter (0:4 directionality) Sample
    Do sklepu »

    Quad-Channel Isolators with Integrated DC-to-DC Converter (0:4 directionality)

    ... current levels are listed in Table 1 in the data ...
    • Darmowa próbka
    Sklep:
    Analog Devices
    Producent:
    ANALOG DEVICES
    MPN:
    ADUM6424A
    Dodany:
    Zmiana ceny:
    -100%