elecena.pl

Automotive multiphase 1-V, 10-A buck converter for Mobileye EyeQ4

Texas Instruments

Automotive multiphase 1-V, 10-A buck converter for Mobileye EyeQ4 RSS Sample
  • Darmowa próbka
MPN:
LP875701-Q1
Producent:
TEXAS INSTRUMENTS
Dodany do bazy:
Ostatnio widziany:

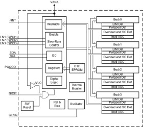
The LP875701-Q1 device is designed to meet the power-management requirements of the latest processors and platforms in various automotive power applications. The device contains four step-down DC/DC converter cores, which are configured as a 4-phase output in forced-PWM mode. The device is controlled by an I2C-compatible serial interface and by enable signals.

The LP875701-Q1 supports remote differential-voltage sensing for multiphase outputs to compensate IR drop between the regulator output and the point-of-load (POL) which improves the accuracy of the output voltage. The switching clock can be forced to PWM mode and also synchronized to an external clock to minimize the disturbances.

The LP875701-Q1 device supports load-current measurement without the addition of external current-sense resistors. The LP875701-Q1 device also supports programmable start-up and shutdown delays and sequences synchronized to enable signals. The sequences can also include GPIO signals to control external regulators, load switches, and processor reset. During start-up , the device controls the output slew rate to minimize output-voltage overshoot and in-rush current.

Elecena nie prowadzi sprzedaży elementów elektronicznych, ani w niej nie pośredniczy.

Produkt pochodzi z oferty sklepu