8-bit 2.3- to 5.5-V I2C/SMBus I/O expander with interrupt, weak pull-up & config registers
Texas Instruments
RSS
Sample
- Darmowa próbka
- MPN:
- PCA9554
- Producent:
- TEXAS INSTRUMENTS
- Dodany do bazy:
- Ostatnio widziany:
Sugerowane produkty dla bit2
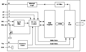
INT can be connected to the interrupt input of a microcontroller. By sending an interrupt signal on this line, the remote I/O can inform the microcontroller if there is incoming data on its ports without having to communicate via the I2C bus. Thus, the PCA9554 can remain a simple slave device.
The devices outputs (latched) have high-current drive capability for directly driving LEDs and low current consumption.
Three hardware pins (A0, A1, and A2) are used to program and vary the fixed I2C address and allow up to eight devices to share the same I2C bus or SMBus.
The PCA9554 is pin-to-pin and I2C address compatible with the PCF8574. However, software changes are required, due to the enhancements in the PCA9554 over the PCF8574.
The PCA9554 and PCA9554A are identical except for their fixed I2C address. This allows for up to 16 of these devices (eight of each) on the same I2C/SMBus.
Elecena nie prowadzi sprzedaży elementów elektronicznych, ani w niej nie pośredniczy.
Produkt pochodzi z oferty sklepu Texas Instruments