elecena.pl

Automotive eight-bit bidirectional voltage level shifter for open-drain and push-pull applications

Texas Instruments

Automotive eight-bit bidirectional voltage level shifter for open-drain and push-pull applications RSS Sample
  • Darmowa próbka
MPN:
TXS0108E-Q1
Producent:
TEXAS INSTRUMENTS
Dodany do bazy:
Ostatnio widziany:

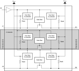
This device is an 8-bit non-inverting level translator which uses two separate configurable power-supply rails. The A port tracks the VCCA pin supply voltage. The VCCA pin accepts any supply voltage between 1.4V and 3.6V. The B port tracks the VCCB pin supply voltage. The VCCB pin accepts any supply voltage between 1.65V and 5.5V. Two input supply pins allows for low Voltage bidirectional translation between any of the 1.5V, 1.8V, 2.5V, 3.3V, and 5V voltage nodes.

When the output-enable (OE) input is low, all outputs are placed in the high-impedance (Hi-Z) state.

To put the device in the Hi-Z state during power-up or power-down periods, tie OE to GND through a pull-down resistor. The current-sourcing capability of the driver determines the minimum value of the resistor.

Elecena nie prowadzi sprzedaży elementów elektronicznych, ani w niej nie pośredniczy.

Produkt pochodzi z oferty sklepu