elecena.pl

44 3.20 PLN 1905.45 PLN
  1. 12-Bit Analog-to-Digital Converter (ADC) With Serial Control and 11 Analog Inputs Sample
    Do sklepu »

    12-Bit Analog-to-Digital Converter (ADC) With Serial Control and 11 Analog Inputs

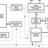
    The TLC2543C and TLC2543I are 12-bit, switched- ...
    • Darmowa próbka
    Sklep:
    Texas Instruments
    Producent:
    TEXAS INSTRUMENTS
    MPN:
    TLC2543
    Dodany:
  2. Enhanced Product 12-Bit Analog-to-Digital Converter (ADC) With Serial Control and 11 Analog Inputs Sample
    Do sklepu »

    Enhanced Product 12-Bit Analog-to-Digital Converter (ADC) With Serial Control and 11 Analog Inputs

    The TLC2543 is a 12-bit, switched-capacitor, ...
    • Darmowa próbka
    Sklep:
    Texas Instruments
    Producent:
    TEXAS INSTRUMENTS
    MPN:
    TLC2543-EP
    Dodany:
  3. Automotive 12-Bit Analog-to-Digital Converter (ADC) With Serial Control and 11 Analog Inputs Sample
    Do sklepu »

    Automotive 12-Bit Analog-to-Digital Converter (ADC) With Serial Control and 11 Analog Inputs

    The TLC2543 is a 12-bit, switched-capacitor, ...
    • Darmowa próbka
    Sklep:
    Texas Instruments
    Producent:
    TEXAS INSTRUMENTS
    MPN:
    TLC2543-Q1
    Dodany:
  4. 12-Bit 66 kSPS ADC Ser. Out, Pgrmable Pwrdn, MSB/LSB First, Built-In Self-Test Mode, 11 Ch. Sample
    Do sklepu »

    12-Bit 66 kSPS ADC Ser. Out, Pgrmable Pwrdn, MSB/LSB First, Built-In Self-Test Mode, 11 Ch.

    The TLV2543C and TLV2543I are 12-bit, switched- ...
    • Darmowa próbka
    Sklep:
    Texas Instruments
    Producent:
    TEXAS INSTRUMENTS
    MPN:
    TLV2543
    Dodany:
  5. 12-bit 200-KSPS 11-channel low-power serial ADC with power down Sample
    Do sklepu »

    12-bit 200-KSPS 11-channel low-power serial ADC with power down

    The TLV2553 is a 12-bit, switched-capacitor, ...
    • Darmowa próbka
    Sklep:
    Texas Instruments
    Producent:
    TEXAS INSTRUMENTS
    MPN:
    TLV2553
    Dodany:
  6. Automotive 12-bit 200-KSPS 11-channel low-power serial ADC with power down Sample
    Do sklepu »

    Automotive 12-bit 200-KSPS 11-channel low-power serial ADC with power down

    The TLV2553-Q1 is a 12-bit switched-capacitor ...
    • Darmowa próbka
    Sklep:
    Texas Instruments
    Producent:
    TEXAS INSTRUMENTS
    MPN:
    TLV2553-Q1
    Dodany:
  7. 12-Bit, 200 KSPS, 11 Channel, Low Power, Serial ADC with Internal Reference Sample
    Do sklepu »

    12-Bit, 200 KSPS, 11 Channel, Low Power, Serial ADC with Internal Reference

    The TLV2556 device is a 12-bit switched-capacitor ...
    • Darmowa próbka
    Sklep:
    Texas Instruments
    Producent:
    TEXAS INSTRUMENTS
    MPN:
    TLV2556
    Dodany:
  8. Enhanced Product 12-Bit, 200 KSPS, 11 Channel, Low Power, Serial ADC with Internal Reference Sample
    Do sklepu »

    Enhanced Product 12-Bit, 200 KSPS, 11 Channel, Low Power, Serial ADC with Internal Reference

    The TLV2556 is a 12-bit, switched-capacitor, ...
    • Darmowa próbka
    Sklep:
    Texas Instruments
    Producent:
    TEXAS INSTRUMENTS
    MPN:
    TLV2556-EP
    Dodany:
  9. 12-Bit 66kSPS Analog-to-Digital Converter (ADC) With Serial Control and 11 Analog Inputs Sample
    Do sklepu »

    12-Bit 66kSPS Analog-to-Digital Converter (ADC) With Serial Control and 11 Analog Inputs

    The TLC2543C and TLC2543I are 12-bit, switched- ...
    • Darmowa próbka
    Sklep:
    Texas Instruments
    Producent:
    TEXAS INSTRUMENTS
    MPN:
    TLC2543M
    Dodany:
  10. 0.6 GHz to 3.0 GHz, 0.5 dB LSB, 6-Bit, Silicon Digital Step Attenuator Sample
    Do sklepu »

    0.6 GHz to 3.0 GHz, 0.5 dB LSB, 6-Bit, Silicon Digital Step Attenuator

    The HMC8073 is a 6-bit digital step attenuator ( ...
    • Darmowa próbka
    Sklep:
    Analog Devices
    Producent:
    ANALOG DEVICES
    MPN:
    HMC8073
    Dodany:
  11. 0.25 dB LSB, 7-Bit, Silicon Digital Attenuator, 0.1 GHz to 6.0 GHz Sample
    Do sklepu »

    0.25 dB LSB, 7-Bit, Silicon Digital Attenuator, 0.1 GHz to 6.0 GHz

    The HMC1119 is a broadband, highly accurate, 7-bit ...
    • Darmowa próbka
    Sklep:
    Analog Devices
    Producent:
    ANALOG DEVICES
    MPN:
    HMC1119
    Dodany:
  12. True Bipolar Input, 5 V Single Supply, 12-Bit, Serial 3.8 s ADC in 8-Pin Package Sample
    Do sklepu »

    True Bipolar Input, 5 V Single Supply, 12-Bit, Serial 3.8 s ADC in 8-Pin Package

    The AD7895 is a fast 12-bit ADC that operates from ...
    • Darmowa próbka
    Sklep:
    Analog Devices
    Producent:
    ANALOG DEVICES
    MPN:
    AD7895
    Dodany:
    Zmiana ceny:
    -100%
  13. Dual Audio Taper Potentiometer Sample
    Do sklepu »

    Dual Audio Taper Potentiometer

    The 1801 Dual Audio Taper Potentiometer consists ...
    • Darmowa próbka
    Sklep:
    Analog Devices
    Producent:
    ANALOG DEVICES
    MPN:
    DS1801
    Dodany:
  14. Dual Audio Taper Potentiometer with Pushbutton Control Sample
    Do sklepu »

    Dual Audio Taper Potentiometer with Pushbutton Control

    Like the DS1801, the DS1802 consists of two 65- ...
    • Darmowa próbka
    Sklep:
    Analog Devices
    Producent:
    ANALOG DEVICES
    MPN:
    DS1802
    Dodany:
  15. 93C66A EEPROM, serial, 4Kb (512x8), 4.5-5.5 V, DIP-8 3.20
    Do sklepu »

    93C66A EEPROM, serial, 4Kb (512x8), 4.5-5.5 V, DIP-8

    Serial 3-wire EEPROM with 8-bit organization ...
    • Sklep zagraniczny (0.75 EUR)
    Sklep:
    reichelt elektronik
    Producent:
    MICROCHIP
    MPN:
    93C66A
    Obudowa:
    DIP8
    GTIN13:
    9900000400651
    Dodany:
    Zmiana ceny:
    -26%